专利数据库
统计分析
产业报告
专利数据监控
产业人才
行业动态
产业政策法规
维权援助
个人中心
详情
文本
图像
标题
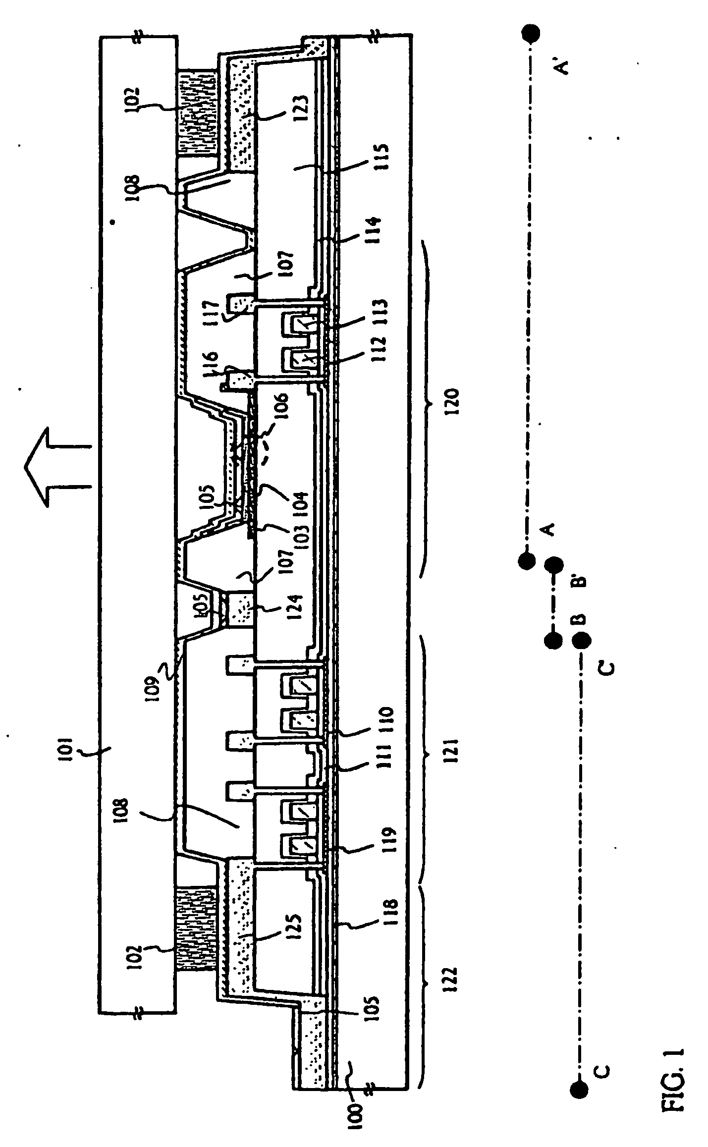
Display device
授权日
2013-03-27
公开(公告)号
EP2259323B1
申请日
2002-04-11
公开(公告)日
2013-03-27
当前申请(专利权)人
SEMICONDUCTOR ENERGY LABORATORY CO, LTD.
发明人
SATAKE, RUMO
简单同族
CN100420059C | CN101345252A | CN101345252B | CN1383352A | EP1253643A2 | EP1253643A3 | EP1253643B1 | EP2259323A2 | EP2259323A3 | EP2259323B1 | JP2002324662A | JP2002324662A5 | JP4801278B2 | KR100939927B1 | KR1020020082153A | TW543338B | US20020158568A1 | US20050030258A1 | US20090026946A1 | US20120267676A1 | US6798132 | US7405515 | US8415881 | US8853940
简单同族成员数量
24
简单同族被引用专利总数
411
诉讼案件数
0
法律状态/事件
权利终止
抱歉,您的浏览器不支持PDF预览,请点击链接下载PDF文件