专利数据库
统计分析
产业报告
专利数据监控
产业人才
行业动态
产业政策法规
维权援助
个人中心
详情
文本
图像
标题
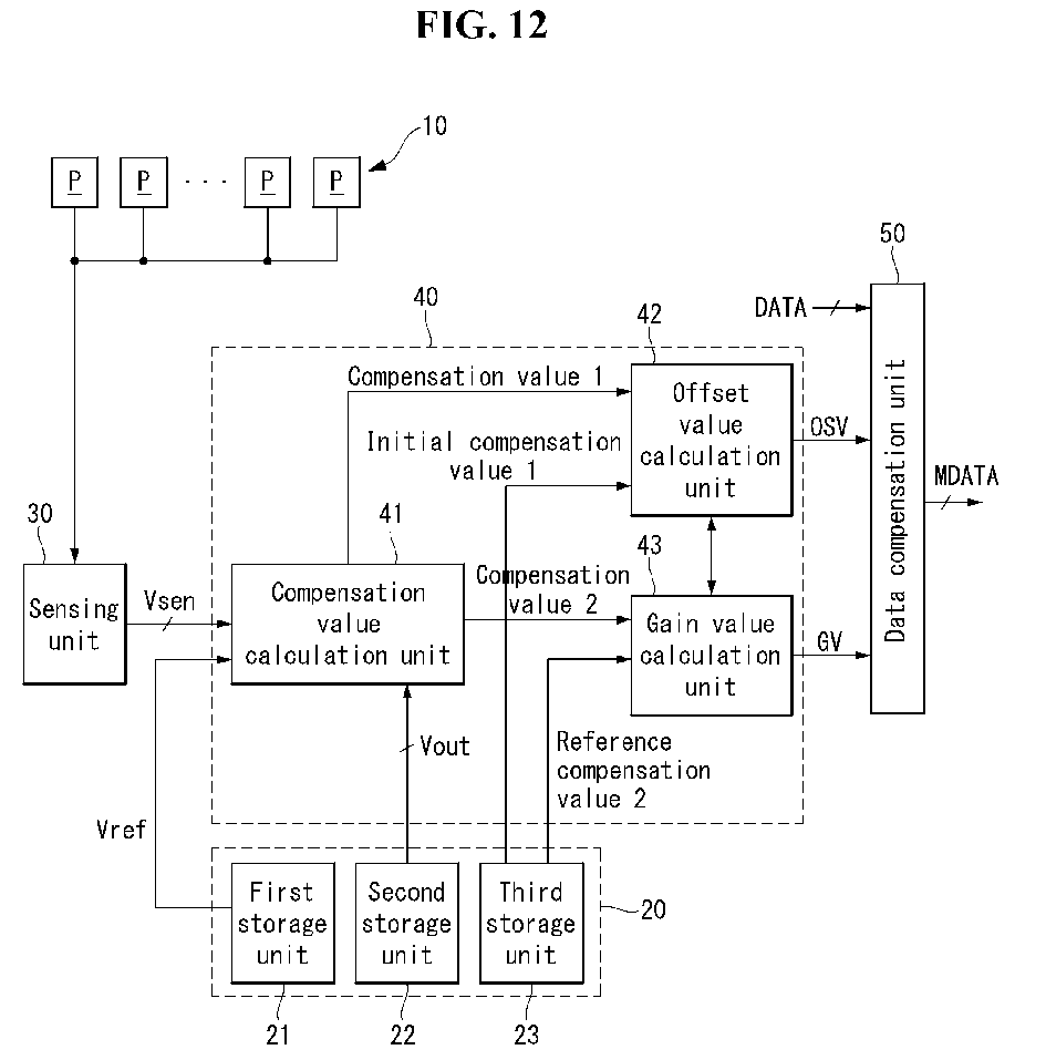
Organic light emitting display and method of compensating for image quality thereof
授权日
1900-01-01
公开(公告)号
EP2881932A3
申请日
2014-11-18
公开(公告)日
2015-07-08
当前申请(专利权)人
LG DISPLAY CO., LTD.
发明人
NAM, WOOJIN | CHOI, JINTAEK | CHOI, SEONGMIN
简单同族
CN104700772A | CN104700772B | EP2881932A2 | EP2881932A3 | EP2881932B1 | JP2015108828A | JP5933672B2 | KR101661016B1 | KR1020150064798A | TW201523564A | TWI547925B | US20150154908A1 | US9262964
简单同族成员数量
13
简单同族被引用专利总数
90
诉讼案件数
0
法律状态/事件
授权 | 权利转移
抱歉,您的浏览器不支持PDF预览,请点击链接下载PDF文件