专利数据库
统计分析
产业报告
专利数据监控
产业人才
行业动态
产业政策法规
维权援助
个人中心
详情
文本
图像
标题
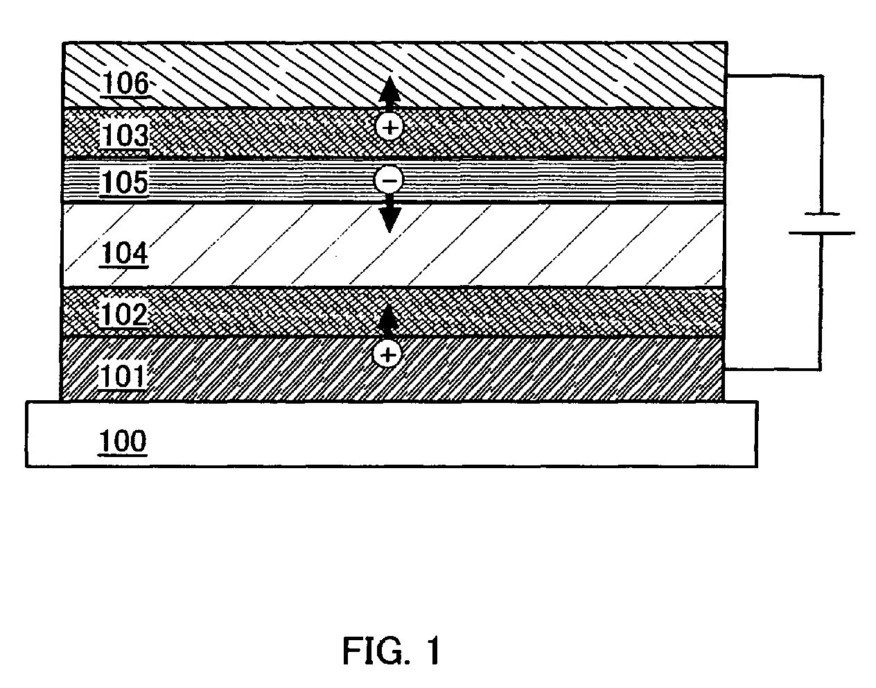
Light-emitting element, display device, and electronic appliance
授权日
1900-01-01
公开(公告)号
EP1624502A3
申请日
2005-08-01
公开(公告)日
2011-04-06
当前申请(专利权)人
SEMICONDUCTOR ENERGY LABORATORY CO., LTD.
发明人
KUMAKI, DAISUKE | SEO, SATOSHI C/OSEMICONDUCTOR ENERGY LAB. CO., LTD
简单同族
CN100512580C | CN101562236A | CN101562236B | CN1735298A | EP1624502A2 | EP1624502A3 | EP1624502B1 | JP2011014939A | JP2012119724A | JP2013138268A | JP2013138268A5 | JP2014030031A | JP5600766B2 | JP5663641B2 | KR101221340B1 | KR101221349B1 | KR1020060049289A | KR1020120004390A | TW200618350A | TW200947774A | TWI366923B | TWI404234B | US20060027830A1 | US20090079342A1 | US20110241007A1 | US7462883 | US7964891 | US8618574
简单同族成员数量
28
简单同族被引用专利总数
168
诉讼案件数
0
法律状态/事件
授权
抱歉,您的浏览器不支持PDF预览,请点击链接下载PDF文件