专利数据库
统计分析
产业报告
专利数据监控
产业人才
行业动态
产业政策法规
维权援助
个人中心
详情
文本
图像
标题
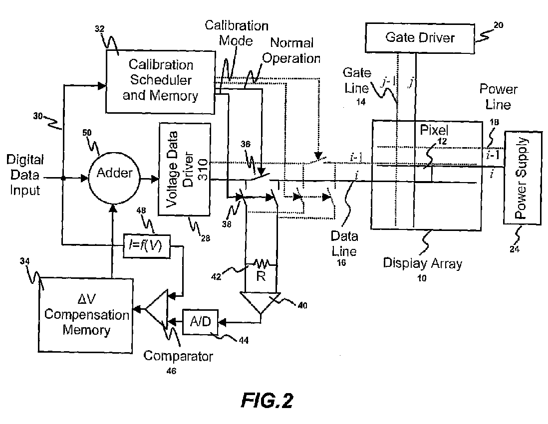
Method and system for programming, calibrating and driving a light emitting device display
授权日
1900-01-01
公开(公告)号
EP2688058A2
申请日
2005-12-15
公开(公告)日
2014-01-22
当前申请(专利权)人
IGNIS INNOVATION INC.
发明人
NATHAN, AROKIA | CHAJI, GHOLAMREZA REZA | SERVATI, PEYMAN
简单同族
EP1836697A1 | EP1836697A4 | EP1836697B1 | EP2383720A2 | EP2383720A3 | EP2383720B1 | EP2688058A2 | EP2688058A3 | JP2008523448A | JP2012150490A | JP2015084105A | JP5128287B2 | JP5822759B2 | JP6086893B2 | KR1020070101275A | TW200632815A | TWI402790B | US20060158402A1 | US20100033469A1 | US20130027381A1 | US20140159996A1 | US20140168203A1 | US20150192621A1 | US7619597 | US8259044 | US8736524 | US8816946 | US8994625 | US9970964 | WO2006063448A1
简单同族成员数量
30
简单同族被引用专利总数
404
诉讼案件数
0
法律状态/事件
实质审查
抱歉,您的浏览器不支持PDF预览,请点击链接下载PDF文件