专利数据库
统计分析
产业报告
专利数据监控
产业人才
行业动态
产业政策法规
维权援助
个人中心
详情
文本
图像
标题
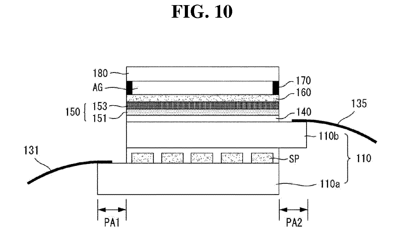
Organic light emitting diode display
授权日
1900-01-01
公开(公告)号
EP2869346A3
申请日
2009-09-15
公开(公告)日
2015-11-04
当前申请(专利权)人
LG DISPLAY CO., LTD.
发明人
LEE, JAEDO | CHOI, HOWON | SEO, SANGWOO
简单同族
CN101908314A | CN101908314B | EP2261986A2 | EP2261986A3 | EP2869346A2 | EP2869346A3 | JP2010282171A | JP5290128B2 | KR101323434B1 | KR1020100131797A | US20100309150A1 | US8599149
简单同族成员数量
12
简单同族被引用专利总数
81
诉讼案件数
0
法律状态/事件
实质审查
抱歉,您的浏览器不支持PDF预览,请点击链接下载PDF文件