专利数据库
统计分析
产业报告
专利数据监控
产业人才
行业动态
产业政策法规
维权援助
个人中心
详情
文本
图像
标题
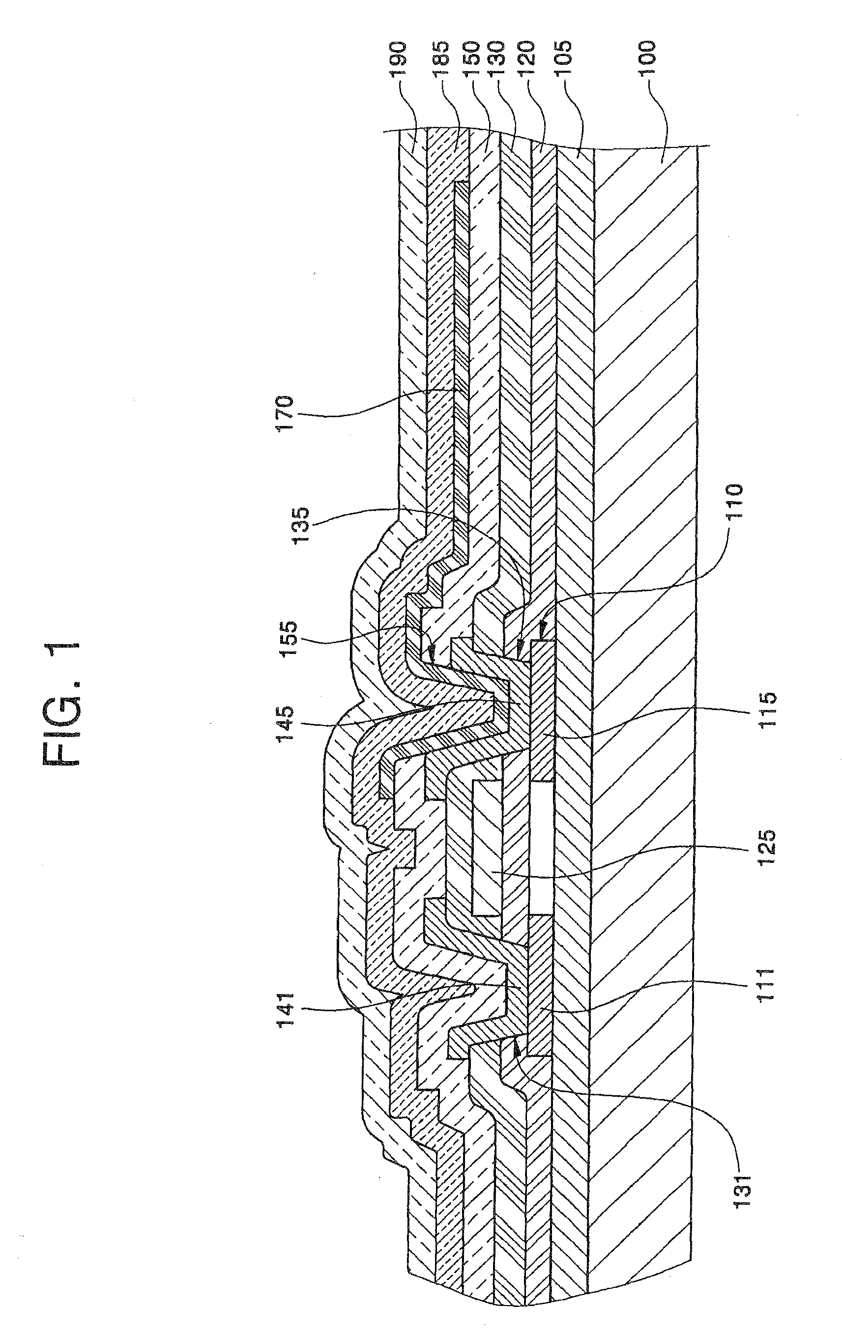
Organic light emitting display
授权日
1900-01-01
公开(公告)号
EP1919007A2
申请日
2004-11-25
公开(公告)日
2008-05-07
当前申请(专利权)人
SAMSUNG MOBILE DISPLAY CO., LTD.
发明人
KIM, MU-HYUN | SONG, MYUNG-WON C/O SAMSUNG SDI CO, LTD. | KANG, TAE-MIN C/O SAMSUNG SDI CO., LTD. | LEE, SEONG-TAEK C/O SAMSUNG SDI CO.,LTD. | CHO, YU-SUNG C/O SAMSUNG SDI CO.,LTD.
简单同族
CN100448055C | CN101221977A | CN101221977B | CN1622708A | DE602004025078D1 | EP1536494A2 | EP1536494A3 | EP1536494B1 | EP1919007A2 | EP1919007A3 | EP1919007B1 | JP2005165324A | JP2008047540A | KR100611159B1 | KR1020050052301A | US20050116631A1 | US7501756
简单同族成员数量
17
简单同族被引用专利总数
81
诉讼案件数
0
法律状态/事件
授权 | 权利转移
抱歉,您的浏览器不支持PDF预览,请点击链接下载PDF文件