专利数据库
统计分析
产业报告
专利数据监控
产业人才
行业动态
产业政策法规
维权援助
个人中心
详情
文本
图像
标题
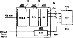
显示器用驱动装置
授权日
1900-01-01
公开(公告)号
CN1346123A
申请日
2001-09-29
公开(公告)日
2002-04-24
当前申请(专利权)人
三洋电机株式会社
发明人
则武和人 | 筒井雄介
简单同族
CN1346123A | EP1193681A2 | EP1193681A3 | KR100541313B1 | KR1020020028789A | TWI221595B | US20020060673A1 | US6822645
简单同族成员数量
8
简单同族被引用专利总数
52
诉讼案件数
0
法律状态/事件
驳回 | 复审
抱歉,您的浏览器不支持PDF预览,请点击链接下载PDF文件