专利数据库
统计分析
产业报告
专利数据监控
产业人才
行业动态
产业政策法规
维权援助
个人中心
详情
文本
图像
标题
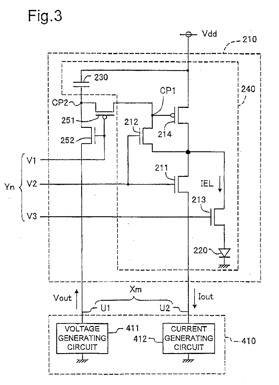
Pixel circuit for light emitting element
授权日
1900-01-01
公开(公告)号
EP1321922A3
申请日
2002-12-11
公开(公告)日
2004-08-11
当前申请(专利权)人
SEIKO EPSON CORPORATION
发明人
MIYAZAWA, TAKASHI, C/O SEIKO EPSON CORPORATION
简单同族
CN1266662C | CN1426041A | CN1758313A | CN1901016A | DE60228392D1 | EP1321922A2 | EP1321922A3 | EP1321922B1 | EP1777692A2 | EP1777692A3 | EP1777692B1 | EP1921596A2 | EP1921596A3 | JP2003177709A | JP2003177709A5 | KR100455467B1 | KR1020030048358A | TW200300922A | TW575858B | US20030122745A1 | US20050243040A1 | US6930680 | US7969389
简单同族成员数量
23
简单同族被引用专利总数
375
诉讼案件数
0
法律状态/事件
授权
抱歉,您的浏览器不支持PDF预览,请点击链接下载PDF文件