专利数据库
统计分析
产业报告
专利数据监控
产业人才
行业动态
产业政策法规
维权援助
个人中心
详情
文本
图像
标题
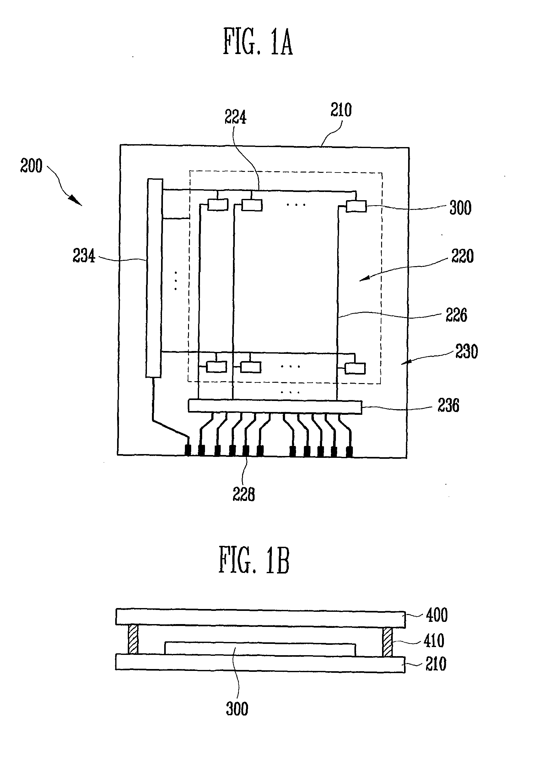
Organic light emitting display device and fabricating method thereof
授权日
2014-09-03
公开(公告)号
EP2278618B1
申请日
2010-04-27
公开(公告)日
2014-09-03
当前申请(专利权)人
SAMSUNG DISPLAY CO., LTD.
发明人
KANG, KI-NYENG | LEE, JAE-SEOB | JIN, DONG-UN
简单同族
CN101958339A | CN101958339B | EP2278618A1 | EP2278618B1 | JP2011023695A | JP5266188B2 | KR101073301B1 | KR1020110006812A | TW201103142A | TWI425634B | US20110012104A1 | US8212247
简单同族成员数量
12
简单同族被引用专利总数
98
诉讼案件数
0
法律状态/事件
授权 | 权利转移
抱歉,您的浏览器不支持PDF预览,请点击链接下载PDF文件