专利数据库
统计分析
产业报告
专利数据监控
产业人才
行业动态
产业政策法规
维权援助
个人中心
详情
文本
图像
标题
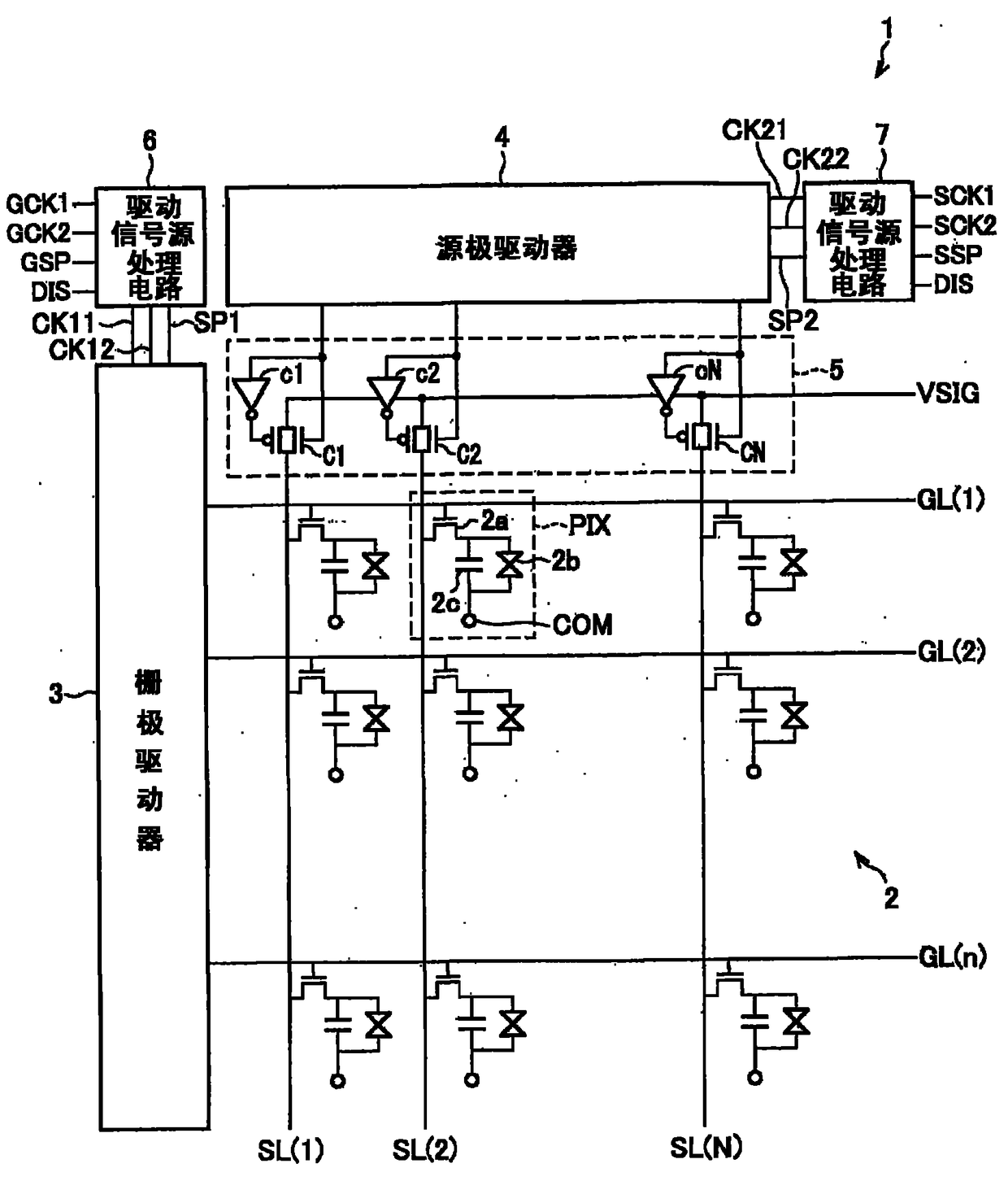
显示装置及其驱动方法
授权日
2012-02-29
公开(公告)号
CN101336447B
申请日
2006-11-30
公开(公告)日
2012-02-29
当前申请(专利权)人
夏普株式会社
发明人
大河宽幸 | 村上祐一郎 | 辻野幸生
简单同族
CN101336447A | CN101336447B | JP4782191B2 | JPWO2007108177A1 | US20090121998A1 | US8085236 | WO2007108177A1
简单同族成员数量
7
简单同族被引用专利总数
106
诉讼案件数
0
法律状态/事件
授权
抱歉,您的浏览器不支持PDF预览,请点击链接下载PDF文件