专利数据库
统计分析
产业报告
专利数据监控
产业人才
行业动态
产业政策法规
维权援助
个人中心
详情
文本
图像
标题
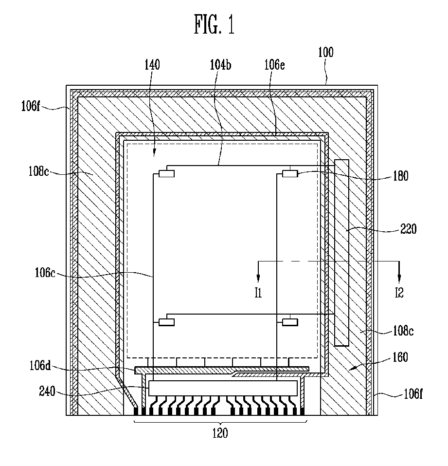
Organic light emitting display and method of manufacturing the same
授权日
1900-01-01
公开(公告)号
EP2019432A3
申请日
2008-06-18
公开(公告)日
2012-02-01
当前申请(专利权)人
SAMSUNG DISPLAY CO., LTD.
发明人
KWAK, WON-KYU C/O LEGAL & IP TEAM SAMSUNG SDI CO., LTD | CHUN, HAE-JIN C/O LEGAL & IP TEAM SAMSUNG SDI CO., LTD
简单同族
CN101355096A | CN101355096B | EP2019432A2 | EP2019432A3 | EP2019432B1 | JP2009027123A | JP5119529B2 | KR100830331B1 | US20090026932A1 | US7944140
简单同族成员数量
10
简单同族被引用专利总数
90
诉讼案件数
0
法律状态/事件
授权 | 权利转移
抱歉,您的浏览器不支持PDF预览,请点击链接下载PDF文件