专利数据库
统计分析
产业报告
专利数据监控
产业人才
行业动态
产业政策法规
维权援助
个人中心
详情
文本
图像
标题
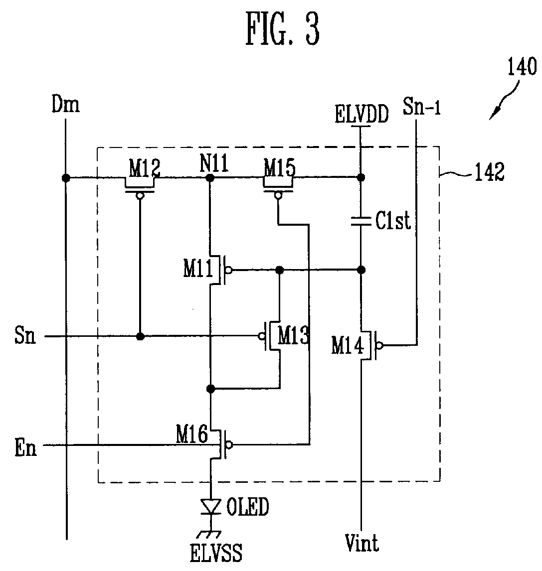
Pixel and organic light emitting display device using the same
授权日
1900-01-01
公开(公告)号
EP1785980A2
申请日
2006-11-09
公开(公告)日
2007-05-16
当前申请(专利权)人
SAMSUNG MOBILE DISPLAY CO., LTD.
发明人
KIM, YANG WAN C/O SAMSUNG SDI CO., LTD.
简单同族
CN100569034C | CN1964585A | EP1785980A2 | EP1785980A3 | EP1785980B1 | JP2007133369A | JP4619334B2 | KR100732828B1 | KR1020070049907A | US20070103406A1 | US7755585
简单同族成员数量
11
简单同族被引用专利总数
149
诉讼案件数
0
法律状态/事件
授权 | 权利转移
抱歉,您的浏览器不支持PDF预览,请点击链接下载PDF文件