专利数据库
统计分析
产业报告
专利数据监控
产业人才
行业动态
产业政策法规
维权援助
个人中心
详情
文本
图像
标题
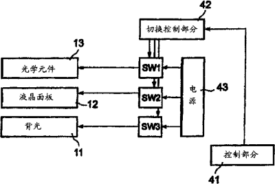
半透反射可切换双单元液晶显示器件
授权日
1900-01-01
公开(公告)号
CN1672093A
申请日
2003-07-11
公开(公告)日
2005-09-21
当前申请(专利权)人
统宝香港控股有限公司
发明人
鹈川雄成
简单同族
AU2003281789A1 | CN1672093A | EP1527370A1 | JP2004061907A | JP2005534969A | KR1020050033624A | TW200422701A | TWI282896B | US20050248697A1 | US7446835 | WO2004013687A1
简单同族成员数量
11
简单同族被引用专利总数
53
诉讼案件数
0
法律状态/事件
撤回 | 权利转移
抱歉,您的浏览器不支持PDF预览,请点击链接下载PDF文件