专利数据库
统计分析
产业报告
专利数据监控
产业人才
行业动态
产业政策法规
维权援助
个人中心
详情
文本
图像
标题
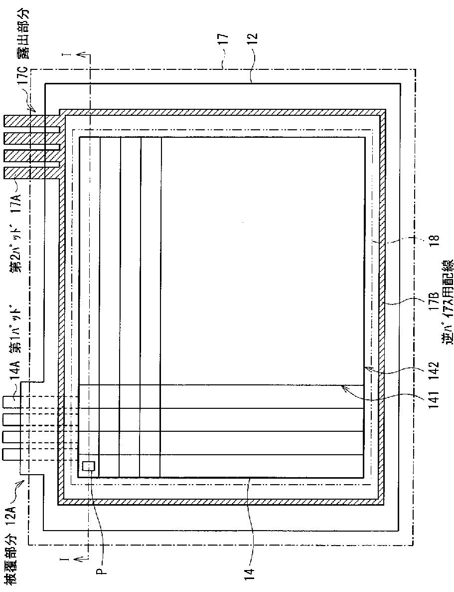
有機ELディスプレイの製造方法
授权日
2012-12-21
公开(公告)号
JP5157825B2
申请日
2008-10-29
公开(公告)日
2013-03-06
当前申请(专利权)人
ソニー株式会社
发明人
高木 一成 | 中村 和夫
简单同族
CN101728421A | CN101728421B | CN103035665A | CN103035665B | JP2010108693A | JP5157825B2 | KR1020100047796A | TW201023679A | US20100102335A1 | US20120202400A1 | US8188476 | US8518754
简单同族成员数量
12
简单同族被引用专利总数
128
诉讼案件数
0
法律状态/事件
未缴年费
抱歉,您的浏览器不支持PDF预览,请点击链接下载PDF文件