专利数据库
统计分析
产业报告
专利数据监控
产业人才
行业动态
产业政策法规
维权援助
个人中心
详情
文本
图像
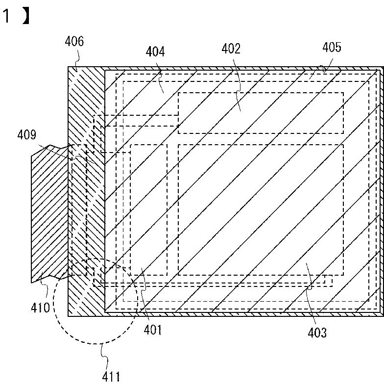
标题
表示装置
授权日
2016-07-15
公开(公告)号
JP5969203B2
申请日
2011-11-23
公开(公告)日
2016-08-17
当前申请(专利权)人
株式会社半導体エネルギー研究所
发明人
波多野 薫 | 福本 良太 | 村上 智史 | 郷戸 宏充
简单同族
AU2003288999A1 | CN101882668A | CN101882668B | CN1729719A | CN1729719B | JP2012094524A | JP2014063748A | JP2014063748A5 | JP2016001327A | JP2016001327A5 | JP2016219433A | JP2017224616A | JP2018036661A | JP2019091705A | JP2020107610A | JP4906051B2 | JP5921517B2 | JP5969203B2 | JP6085012B2 | JP6391634B2 | JP6491276B2 | JP6553150B2 | JP6691246B2 | JPWO2004057920A1 | JPWO2004057920A5 | KR100890957B1 | KR1020050084297A | TW200415698A | TWI322455B | US20040185301A1 | US20080116795A1 | US7190115 | US8179040 | WO2004057920A1
简单同族成员数量
34
简单同族被引用专利总数
158
诉讼案件数
0
法律状态/事件
授权
抱歉,您的浏览器不支持PDF预览,请点击链接下载PDF文件