专利数据库
统计分析
产业报告
专利数据监控
产业人才
行业动态
产业政策法规
维权援助
个人中心
详情
文本
图像
标题
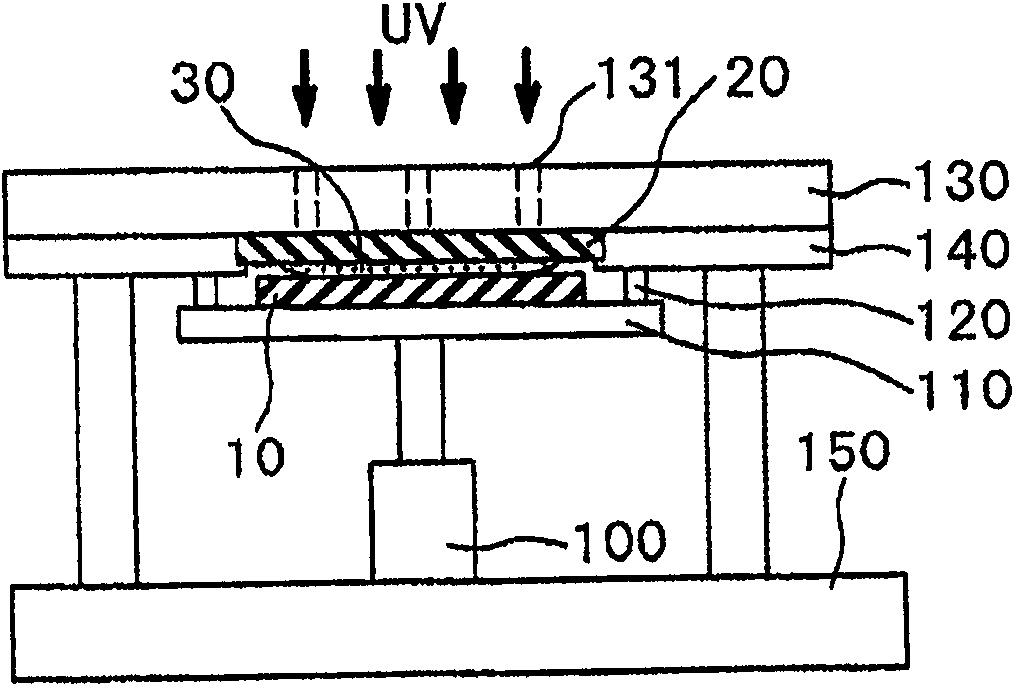
带前窗的显示装置及其制造方法
授权日
2014-12-10
公开(公告)号
CN102129134B
申请日
2011-01-14
公开(公告)日
2014-12-10
当前申请(专利权)人
株式会社日立显示器 | 松下液晶显示器株式会社
发明人
石井彰 | 高桥理纱 | 石井仁 | 市东茂美 | 岩崎修治 | 石井克彦
简单同族
CN102129134A | CN102129134B | JP2011145534A | JP2011145534A5 | JP5550357B2 | KR101245092B1 | KR1020110084108A | TW201133057A | TWI480625B | US20110177261A1 | US8628637
简单同族成员数量
11
简单同族被引用专利总数
68
诉讼案件数
0
法律状态/事件
授权 | 权利转移
抱歉,您的浏览器不支持PDF预览,请点击链接下载PDF文件