专利数据库
统计分析
产业报告
专利数据监控
产业人才
行业动态
产业政策法规
维权援助
个人中心
详情
文本
图像
标题
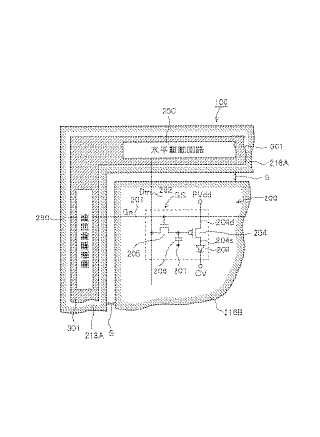
有機EL表示装置
授权日
1900-01-01
公开(公告)号
JP2004335267A
申请日
2003-05-08
公开(公告)日
2004-11-25
当前申请(专利权)人
三洋電機株式会社
发明人
小村 哲司 | 西川 龍司
简单同族
CN100452419C | CN1551686A | JP2004335267A | JP4518747B2 | KR100568630B1 | KR1020040095660A | TW200425774A | TWI229570B | US20050023964A1 | US7053549
简单同族成员数量
10
简单同族被引用专利总数
100
诉讼案件数
0
法律状态/事件
授权
抱歉,您的浏览器不支持PDF预览,请点击链接下载PDF文件