专利数据库
统计分析
产业报告
专利数据监控
产业人才
行业动态
产业政策法规
维权援助
个人中心
详情
文本
图像
标题
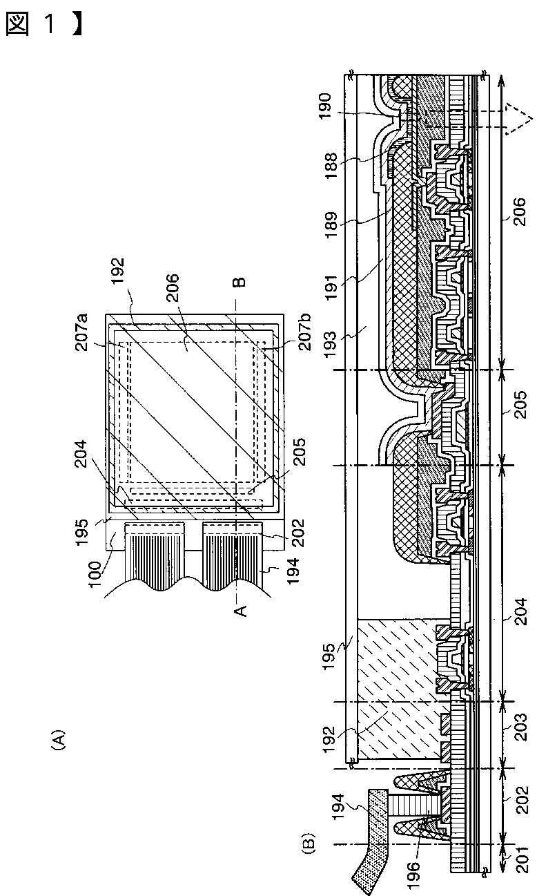
発光表示装置の作製方法
授权日
2013-04-12
公开(公告)号
JP5244958B2
申请日
2011-12-05
公开(公告)日
2013-07-24
当前申请(专利权)人
株式会社半導体エネルギー研究所
发明人
村上 智史 | 大谷 久 | 山崎 舜平
简单同族
CN100551179C | CN101673758A | CN101673758B | CN1750719A | JP2012084530A | JP2013061663A | JP2013083993A | JP2013083993A5 | JP2014067043A | JP2015065175A | JP2016040777A | JP2017004970A | JP2017228543A | JP2019125580A | JP5244958B2 | JP5347059B2 | JP5728559B2 | JP5918834B2 | JP6085018B2 | JP6280963B2 | JP6612824B2 | JP6715974B2 | KR101256357B1 | KR101266023B1 | KR1020060051388A | KR1020130007513A | US10096795 | US20060202615A1 | US20130134401A1 | US20170069872A1 | US8350466 | US9444069
简单同族成员数量
32
简单同族被引用专利总数
105
诉讼案件数
0
法律状态/事件
授权
抱歉,您的浏览器不支持PDF预览,请点击链接下载PDF文件