专利数据库
统计分析
产业报告
专利数据监控
产业人才
行业动态
产业政策法规
维权援助
个人中心
详情
文本
图像
标题
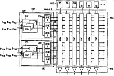
液晶显示器及其驱动装置
授权日
2008-10-15
公开(公告)号
CN100426364C
申请日
2002-07-23
公开(公告)日
2008-10-15
当前申请(专利权)人
三星显示有限公司
发明人
李升佑
简单同族
CN100426364C | CN1608227A | US20030085859A1 | US20070200808A1 | US7224351 | US7859524 | WO2003040814A1
简单同族成员数量
7
简单同族被引用专利总数
53
诉讼案件数
0
法律状态/事件
未缴年费 | 权利转移
抱歉,您的浏览器不支持PDF预览,请点击链接下载PDF文件