专利数据库
统计分析
产业报告
专利数据监控
产业人才
行业动态
产业政策法规
维权援助
个人中心
详情
文本
图像
标题
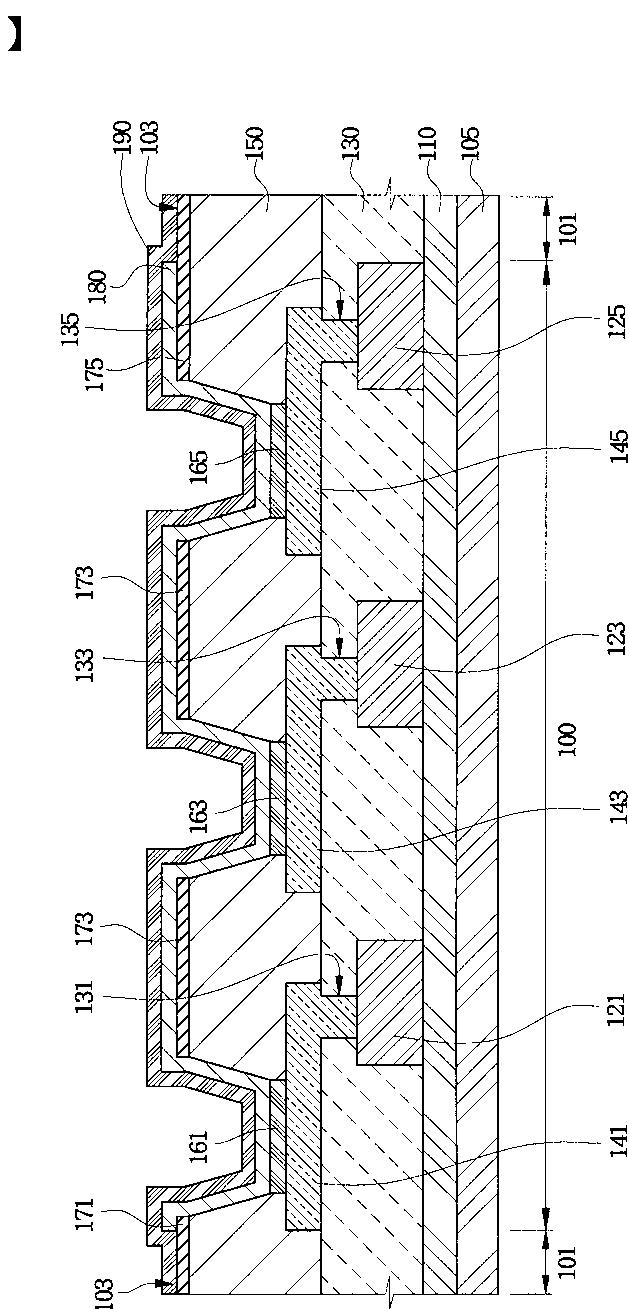
平板表示装置及びその製造方法
授权日
2009-04-10
公开(公告)号
JP4291203B2
申请日
2004-04-27
公开(公告)日
2009-07-08
当前申请(专利权)人
三星モバイルディスプレイ株式會社
发明人
具 在 本 | 李 乙 浩
简单同族
CN102222683A | CN1606389A | JP2005116507A | JP2007128900A | JP2007128900A5 | JP2007128901A | JP4291203B2 | KR100552972B1 | KR1020050034427A | US20050077814A1 | US20060022583A1 | US20060028123A1 | US20090130788A1 | US7492096 | US7686666
简单同族成员数量
15
简单同族被引用专利总数
82
诉讼案件数
0
法律状态/事件
授权 | 权利转移
抱歉,您的浏览器不支持PDF预览,请点击链接下载PDF文件