专利数据库
统计分析
产业报告
专利数据监控
产业人才
行业动态
产业政策法规
维权援助
个人中心
详情
文本
图像
标题
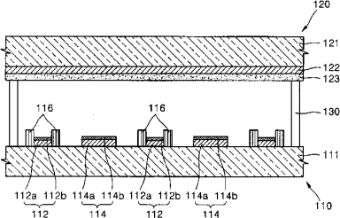
场发射背光装置、背光装置驱动方法及制造下面板的方法
授权日
1900-01-01
公开(公告)号
CN1637511A
申请日
2004-11-03
公开(公告)日
2005-07-13
当前申请(专利权)人
三星SDI株式会社
发明人
姜昊锡 | 韩仁泽 | 陈勇完 | 裵民钟 | 朴永俊
简单同族
CN100465720C | CN1637511A | JP2005197263A | KR101018344B1 | KR1020050072945A | US20050152155A1 | US20080106221A1 | US7288884 | US7905756
简单同族成员数量
9
简单同族被引用专利总数
61
诉讼案件数
0
法律状态/事件
未缴年费
抱歉,您的浏览器不支持PDF预览,请点击链接下载PDF文件