专利数据库
统计分析
产业报告
专利数据监控
产业人才
行业动态
产业政策法规
维权援助
个人中心
详情
文本
图像
标题
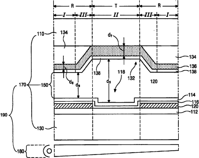
透射反射型液晶显示装置及其制造方法
授权日
2006-07-26
公开(公告)号
CN1266521C
申请日
2003-06-13
公开(公告)日
2006-07-26
当前申请(专利权)人
乐金显示有限公司
发明人
金东国
简单同族
CN1266521C | CN1475841A | JP2004102243A | JP3872774B2 | KR100439649B1 | KR1020040016458A | TW200402581A | TW594311B | US20040032552A1 | US6912027
简单同族成员数量
10
简单同族被引用专利总数
61
诉讼案件数
0
法律状态/事件
授权
抱歉,您的浏览器不支持PDF预览,请点击链接下载PDF文件