专利数据库
统计分析
产业报告
专利数据监控
产业人才
行业动态
产业政策法规
维权援助
个人中心
详情
文本
图像
标题
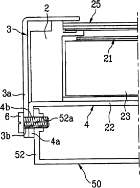
液晶显示设备的安装框架组合结构及其组装方法
授权日
2007-02-21
公开(公告)号
CN1301432C
申请日
2003-12-23
公开(公告)日
2007-02-21
当前申请(专利权)人
乐金显示有限公司
发明人
安三荣
简单同族
CN1301432C | CN1510474A | JP2004206095A | JP2008134659A | JP4829261B2 | KR100487435B1 | KR1020040056744A | US20040119907A1 | US20060244876A1 | US7095462 | US7830468
简单同族成员数量
11
简单同族被引用专利总数
97
诉讼案件数
0
法律状态/事件
授权
抱歉,您的浏览器不支持PDF预览,请点击链接下载PDF文件