专利数据库
统计分析
产业报告
专利数据监控
产业人才
行业动态
产业政策法规
维权援助
个人中心
详情
文本
图像
标题
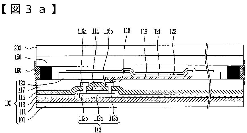
有機電界発光表示装置及びその製造方法
授权日
2012-02-17
公开(公告)号
JP4926580B2
申请日
2006-07-13
公开(公告)日
2012-05-09
当前申请(专利权)人
三星モバイルディスプレイ株式會社
发明人
崔 東洙 | 林 大鎬 | 李 在先 | 朴 鎭宇 | 李 鐘禹 | 申 尚▲ウォク▼ | 李 雄洙
简单同族
CN101009307A | CN108249764A | EP1811587A2 | EP1811587A3 | EP1811587B1 | JP2007194184A | JP4926580B2 | KR100673765B1 | TW200738047A | TWI348330B | US20070170839A1 | US20130237115A1 | US8415880 | US9004972
简单同族成员数量
14
简单同族被引用专利总数
209
诉讼案件数
0
法律状态/事件
授权 | 权利转移
抱歉,您的浏览器不支持PDF预览,请点击链接下载PDF文件