专利数据库
统计分析
产业报告
专利数据监控
产业人才
行业动态
产业政策法规
维权援助
个人中心
详情
文本
图像
标题
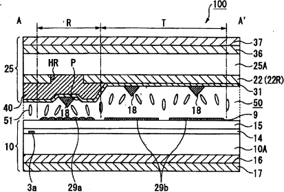
液晶显示装置和电子设备
授权日
1900-01-01
公开(公告)号
CN1743923A
申请日
2005-09-05
公开(公告)日
2006-03-08
当前申请(专利权)人
精工爱普生株式会社
发明人
比嘉政胜
简单同族
CN102890357A | CN102890357B | CN1743923A | JP2006072086A | JP4123208B2 | KR100745884B1 | KR1020060050983A | TW200609590A | TWI319821B | US20060050209A1 | US20110304806A1 | US8031303
简单同族成员数量
12
简单同族被引用专利总数
71
诉讼案件数
0
法律状态/事件
驳回
抱歉,您的浏览器不支持PDF预览,请点击链接下载PDF文件