专利数据库
统计分析
产业报告
专利数据监控
产业人才
行业动态
产业政策法规
维权援助
个人中心
详情
文本
图像
标题
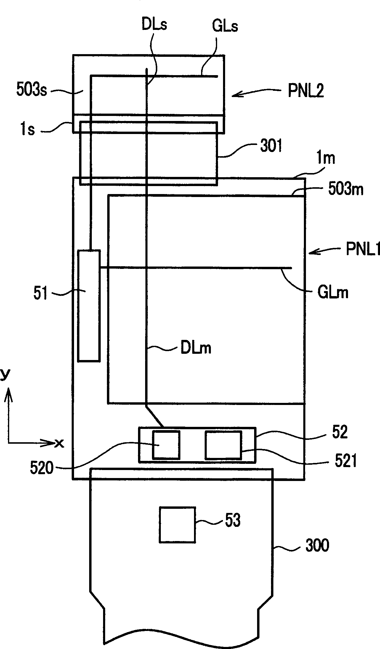
液晶显示装置及其驱动方法
授权日
1900-01-01
公开(公告)号
CN1811571A
申请日
2003-04-29
公开(公告)日
2006-08-02
当前申请(专利权)人
株式会社日立显示器
发明人
高桥洋之
简单同族
CN1252527C | CN1456929A | CN1811571A | DE60335841D1 | EP1361505A2 | EP1361505A3 | EP1361505B1 | JP2003323164A | JP2003323164A5 | KR100602028B1 | KR1020030087563A | TW200405992A | TWI223229B | US20030210215A1
简单同族成员数量
14
简单同族被引用专利总数
75
诉讼案件数
0
法律状态/事件
撤回
抱歉,您的浏览器不支持PDF预览,请点击链接下载PDF文件