专利数据库
统计分析
产业报告
专利数据监控
产业人才
行业动态
产业政策法规
维权援助
个人中心
详情
文本
图像
标题
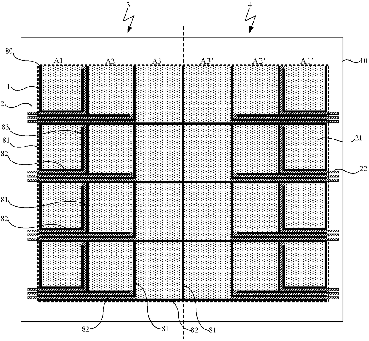
一种OLED显示基板、显示面板及显示装置
授权日
2018-12-18
公开(公告)号
CN208256732U
申请日
2018-06-28
公开(公告)日
2018-12-18
当前申请(专利权)人
京东方科技集团股份有限公司
发明人
杨盛际 | 董学 | 陈小川 | 王辉 | 卢鹏程
简单同族
CN208256732U
简单同族成员数量
1
简单同族被引用专利总数
0
诉讼案件数
0
法律状态/事件
授权
抱歉,您的浏览器不支持PDF预览,请点击链接下载PDF文件