专利数据库
统计分析
产业报告
专利数据监控
产业人才
行业动态
产业政策法规
维权援助
个人中心
详情
文本
图像
标题
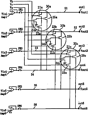
显示装置用驱动电路及显示装置
授权日
2007-10-10
公开(公告)号
CN100342419C
申请日
2003-08-18
公开(公告)日
2007-10-10
当前申请(专利权)人
克莱博创新有限公司
发明人
中川博文 | 皿井修 | 种村文法 | 藤野美季
简单同族
CN100342419C | CN1487492A | JP2004093691A | JP4015908B2 | KR100967745B1 | KR1020040020020A | NL1023910A | NL1023910C | TW200405256A | US20040041826A1 | US7079125
简单同族成员数量
11
简单同族被引用专利总数
57
诉讼案件数
0
法律状态/事件
未缴年费 | 权利转移
抱歉,您的浏览器不支持PDF预览,请点击链接下载PDF文件