专利数据库
统计分析
产业报告
专利数据监控
产业人才
行业动态
产业政策法规
维权援助
个人中心
详情
文本
图像
标题
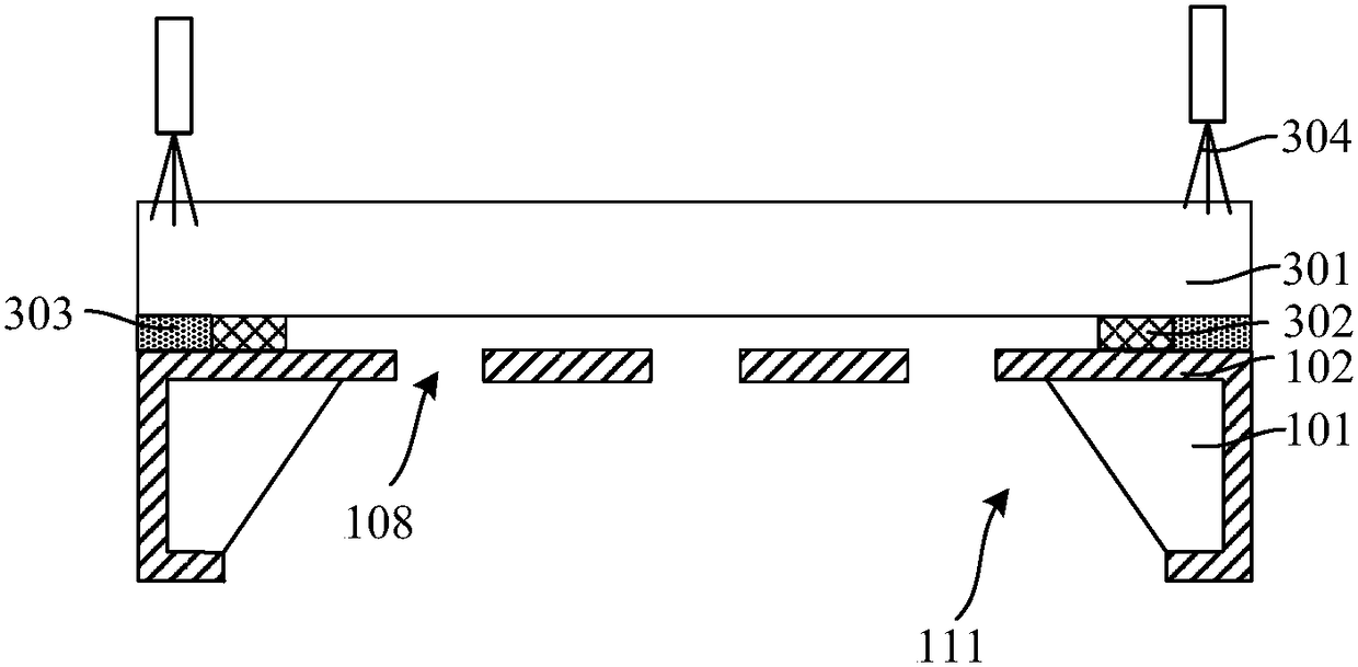
OLED面板的制作方法、临时配对结构
授权日
1900-01-01
公开(公告)号
CN109301090A
申请日
2017-07-25
公开(公告)日
2019-02-01
当前申请(专利权)人
上海视欧光电科技有限公司
发明人
孔杰 | 居宇涵
简单同族
CN109301090A
简单同族成员数量
1
简单同族被引用专利总数
0
诉讼案件数
0
法律状态/事件
实质审查 | 权利转移
抱歉,您的浏览器不支持PDF预览,请点击链接下载PDF文件