专利数据库
统计分析
产业报告
专利数据监控
产业人才
行业动态
产业政策法规
维权援助
个人中心
详情
文本
图像
标题
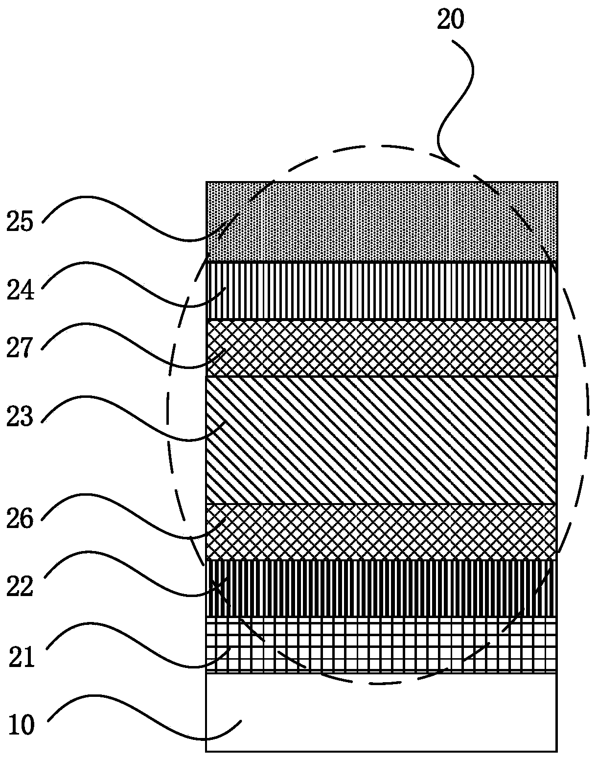
一种显示面板及显示装置
授权日
1900-01-01
公开(公告)号
CN111048675A
申请日
2019-11-29
公开(公告)日
2020-04-21
当前申请(专利权)人
昆山国显光电有限公司
发明人
周小康 | 魏现鹤 | 王宏宇 | 李贵芳
简单同族
CN111048675A
简单同族成员数量
1
简单同族被引用专利总数
0
诉讼案件数
0
法律状态/事件
实质审查
抱歉,您的浏览器不支持PDF预览,请点击链接下载PDF文件