专利数据库
统计分析
产业报告
专利数据监控
产业人才
行业动态
产业政策法规
维权援助
个人中心
详情
文本
图像
标题
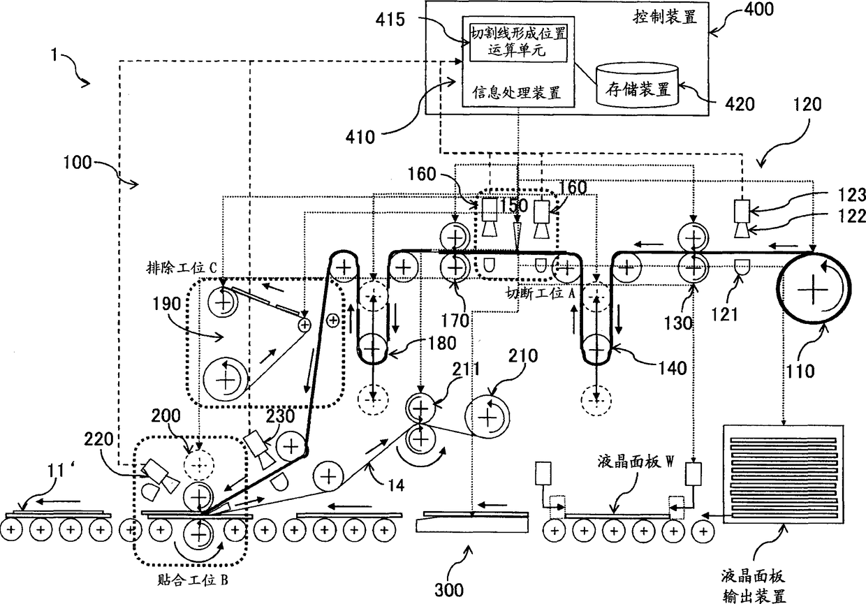
液晶显示元件的连续制造方法及装置
授权日
2013-04-10
公开(公告)号
CN102043279B
申请日
2010-07-09
公开(公告)日
2013-04-10
当前申请(专利权)人
日东电工株式会社
发明人
木村功儿 | 北田和生 | 岛江文人 | 由良友和 | 小盐智 | 中园拓矢 | 大泽曜彰
简单同族
AT533623T | CN102043279A | CN102043279B | EP2325007A1 | EP2325007B1 | JP2011085628A | JP4503689B1 | KR101011449B1 | PL2325007T3 | PL2325007T4 | TW201113598A | TWI341416B | US20110083790A1 | US7976657
简单同族成员数量
14
简单同族被引用专利总数
54
诉讼案件数
0
法律状态/事件
授权
抱歉,您的浏览器不支持PDF预览,请点击链接下载PDF文件