专利数据库
统计分析
产业报告
专利数据监控
产业人才
行业动态
产业政策法规
维权援助
个人中心
详情
文本
图像
标题
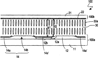
液晶显示器件
授权日
1900-01-01
公开(公告)号
CN1716011A
申请日
2005-04-26
公开(公告)日
2006-01-04
当前申请(专利权)人
夏普株式会社
发明人
久保真澄
简单同族
CN101916002A | CN101916002B | CN1716011A | JP2005309267A | JP3891995B2 | KR100773205B1 | KR1020060047476A | TW200604642A | TWI341409B | US20050237463A1 | US7499136
简单同族成员数量
11
简单同族被引用专利总数
63
诉讼案件数
0
法律状态/事件
驳回 | 复审
抱歉,您的浏览器不支持PDF预览,请点击链接下载PDF文件