专利数据库
统计分析
产业报告
专利数据监控
产业人才
行业动态
产业政策法规
维权援助
个人中心
详情
文本
图像
标题
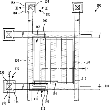
液晶显示面板及其制造方法
授权日
1900-01-01
公开(公告)号
CN101299122A
申请日
2007-12-29
公开(公告)日
2008-11-05
当前申请(专利权)人
乐金显示有限公司
发明人
林柄昊
简单同族
CN101299122A | CN101299122B | KR101374102B1 | KR1020080097055A | TW200842470A | TWI363916B | US20080266479A1 | US7782435
简单同族成员数量
8
简单同族被引用专利总数
74
诉讼案件数
0
法律状态/事件
授权
抱歉,您的浏览器不支持PDF预览,请点击链接下载PDF文件