专利数据库
统计分析
产业报告
专利数据监控
产业人才
行业动态
产业政策法规
维权援助
个人中心
详情
文本
图像
标题
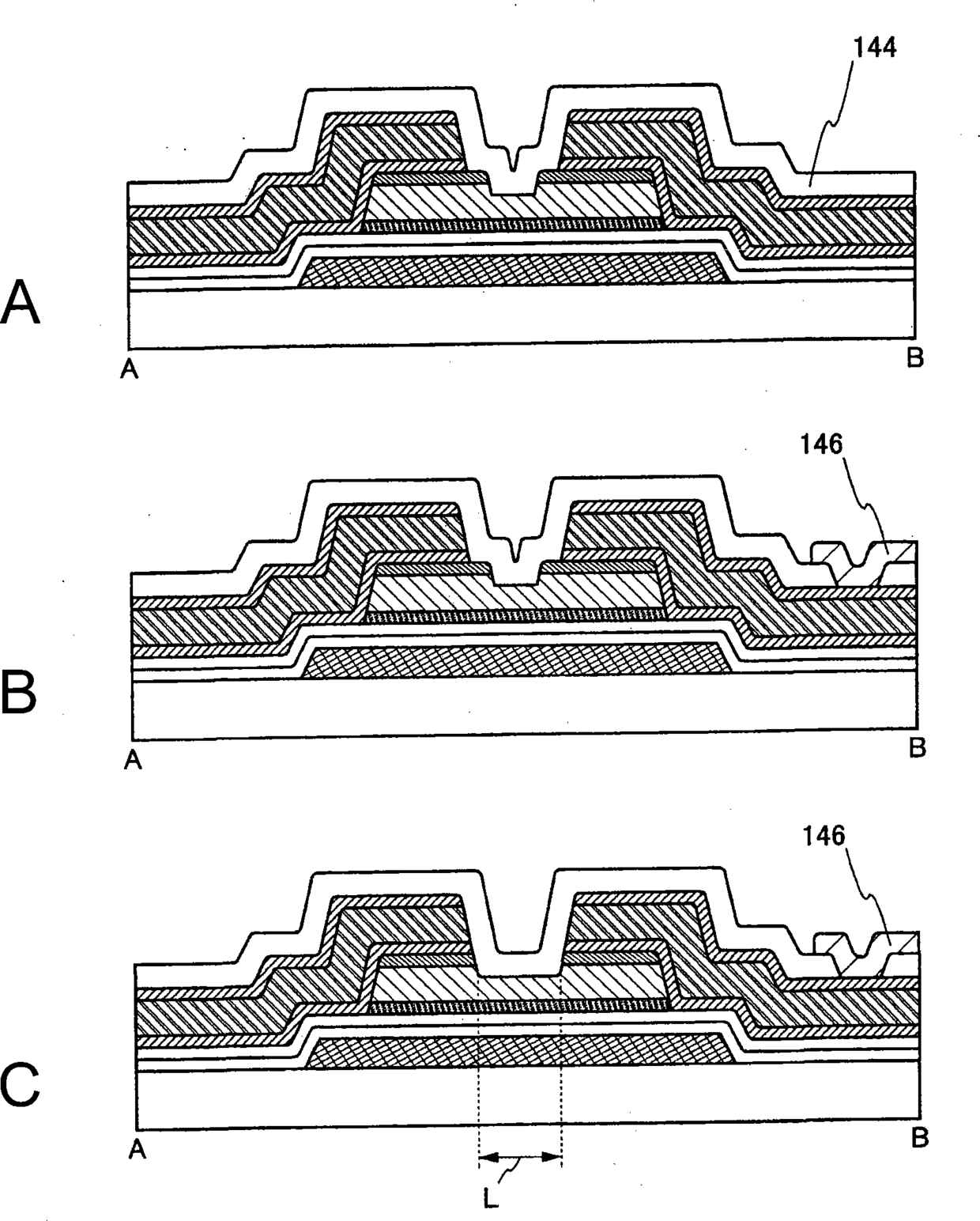
液晶显示装置及电子设备
授权日
2013-01-02
公开(公告)号
CN101354511B
申请日
2008-07-25
公开(公告)日
2013-01-02
当前申请(专利权)人
株式会社半导体能源研究所
发明人
黑川义元 | 池田隆之 | 长多刚 | 井上卓之
简单同族
CN101354511A | CN101354511B | JP2009055008A | JP2009055008A5 | JP2014168084A | JP2016048387A | JP2017199007A | JP2019061287A | JP2020079956A | JP5840723B2 | JP6158898B2 | JP6469169B2 | KR101568121B1 | KR1020090012156A | TW200921231A | TWI470330B | US20090027580A1 | US8330887
简单同族成员数量
18
简单同族被引用专利总数
55
诉讼案件数
0
法律状态/事件
未缴年费
抱歉,您的浏览器不支持PDF预览,请点击链接下载PDF文件