专利数据库
统计分析
产业报告
专利数据监控
产业人才
行业动态
产业政策法规
维权援助
个人中心
详情
文本
图像
标题
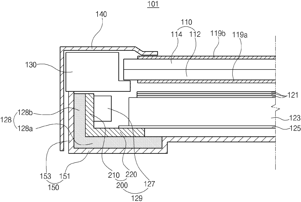
液晶显示设备
授权日
1900-01-01
公开(公告)号
CN105158973A
申请日
2011-07-21
公开(公告)日
2015-12-16
当前申请(专利权)人
乐金显示有限公司
发明人
陆心根 | 朴东聂
简单同族
CN102346332A | CN105158973A | CN105158973B | KR1020120012150A | US20120026424A1 | US8958022
简单同族成员数量
6
简单同族被引用专利总数
86
诉讼案件数
0
法律状态/事件
授权
抱歉,您的浏览器不支持PDF预览,请点击链接下载PDF文件