专利数据库
统计分析
产业报告
专利数据监控
产业人才
行业动态
产业政策法规
维权援助
个人中心
详情
文本
图像
标题
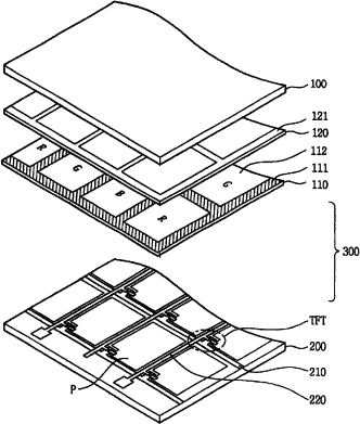
视角可控滤色器基板、具有该基板的液晶显示器及其制造方法
授权日
2009-07-08
公开(公告)号
CN100510890C
申请日
2006-11-24
公开(公告)日
2009-07-08
当前申请(专利权)人
乐金显示有限公司
发明人
崔相好
简单同族
CN100510890C | CN101097343A | KR101268954B1 | KR1020080001522A | US20080002110A1 | US7609339
简单同族成员数量
6
简单同族被引用专利总数
87
诉讼案件数
0
法律状态/事件
授权
抱歉,您的浏览器不支持PDF预览,请点击链接下载PDF文件