专利数据库
统计分析
产业报告
专利数据监控
产业人才
行业动态
产业政策法规
维权援助
个人中心
详情
文本
图像
标题
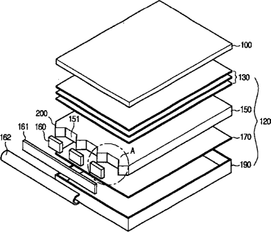
背光组件及采用其的液晶显示器件
授权日
2010-05-26
公开(公告)号
CN101097349B
申请日
2006-09-26
公开(公告)日
2010-05-26
当前申请(专利权)人
乐金显示有限公司
发明人
笾宽燮 | 马在乐 | 郑明愚 | 李仙希
简单同族
CN101097349A | CN101097349B | JP2008016429A | JP4435774B2 | KR100989219B1 | KR1020080001755A | US20080002428A1 | US7637646
简单同族成员数量
8
简单同族被引用专利总数
97
诉讼案件数
0
法律状态/事件
授权
抱歉,您的浏览器不支持PDF预览,请点击链接下载PDF文件