专利数据库
统计分析
产业报告
专利数据监控
产业人才
行业动态
产业政策法规
维权援助
个人中心
详情
文本
图像
标题
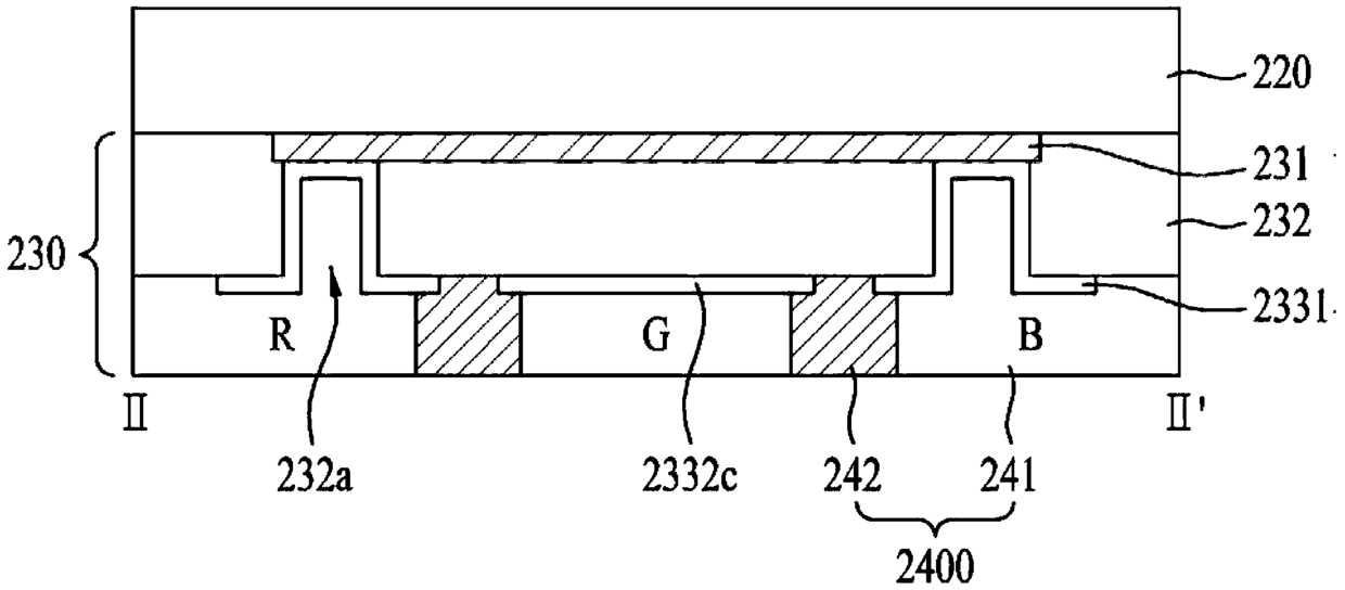
有机发光显示器及其制造方法
授权日
2016-08-03
公开(公告)号
CN103681737B
申请日
2012-12-21
公开(公告)日
2016-08-03
当前申请(专利权)人
乐金显示有限公司
发明人
崔浩源 | 李在度
简单同族
CN103681737A | CN103681737B | EP2704196A1 | EP2704196B1 | EP3454375A1 | EP3454375B1 | JP2014049436A | JP5525589B2 | KR101552994B1 | KR1020140030551A | TW201409679A | TWI518890B | US20140061597A1 | US20150249114A1 | US9130181 | US9196662
简单同族成员数量
16
简单同族被引用专利总数
101
诉讼案件数
0
法律状态/事件
授权
抱歉,您的浏览器不支持PDF预览,请点击链接下载PDF文件