专利数据库
统计分析
产业报告
专利数据监控
产业人才
行业动态
产业政策法规
维权援助
个人中心
详情
文本
图像
标题
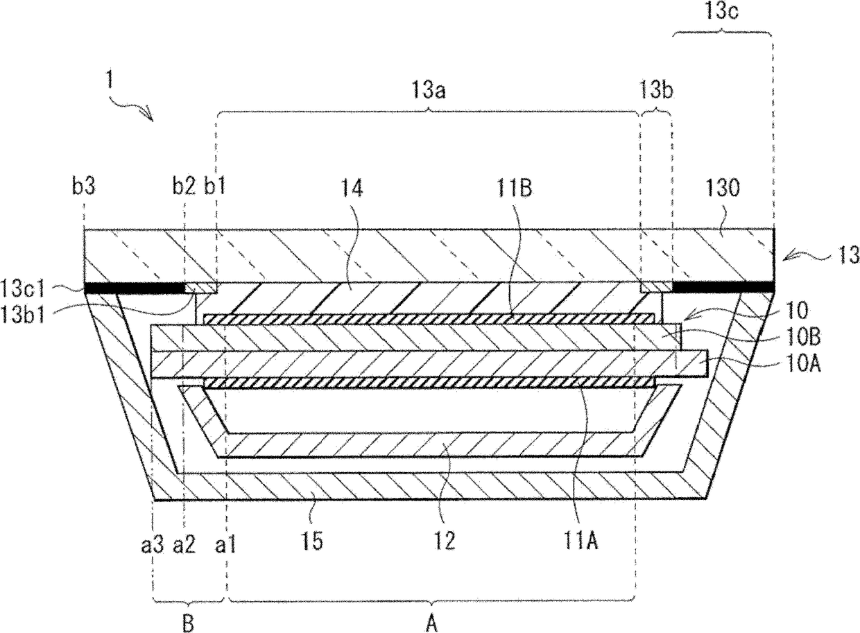
液晶显示装置
授权日
2013-12-11
公开(公告)号
CN102087436B
申请日
2010-11-26
公开(公告)日
2013-12-11
当前申请(专利权)人
索尼公司
发明人
坪井寿宪 | 藤井宽昭 | 荒木宗也 | 寺本亮一 | 佐久间健 | 二宫清隆 | 宇田宜夫
简单同族
CN102087436A | CN102087436B | EP2354835A1 | EP2354835B1 | JP2011138099A | JP5605088B2 | US20110134378A1 | US8379173
简单同族成员数量
8
简单同族被引用专利总数
65
诉讼案件数
0
法律状态/事件
授权
抱歉,您的浏览器不支持PDF预览,请点击链接下载PDF文件