专利数据库
统计分析
产业报告
专利数据监控
产业人才
行业动态
产业政策法规
维权援助
个人中心
详情
文本
图像
标题
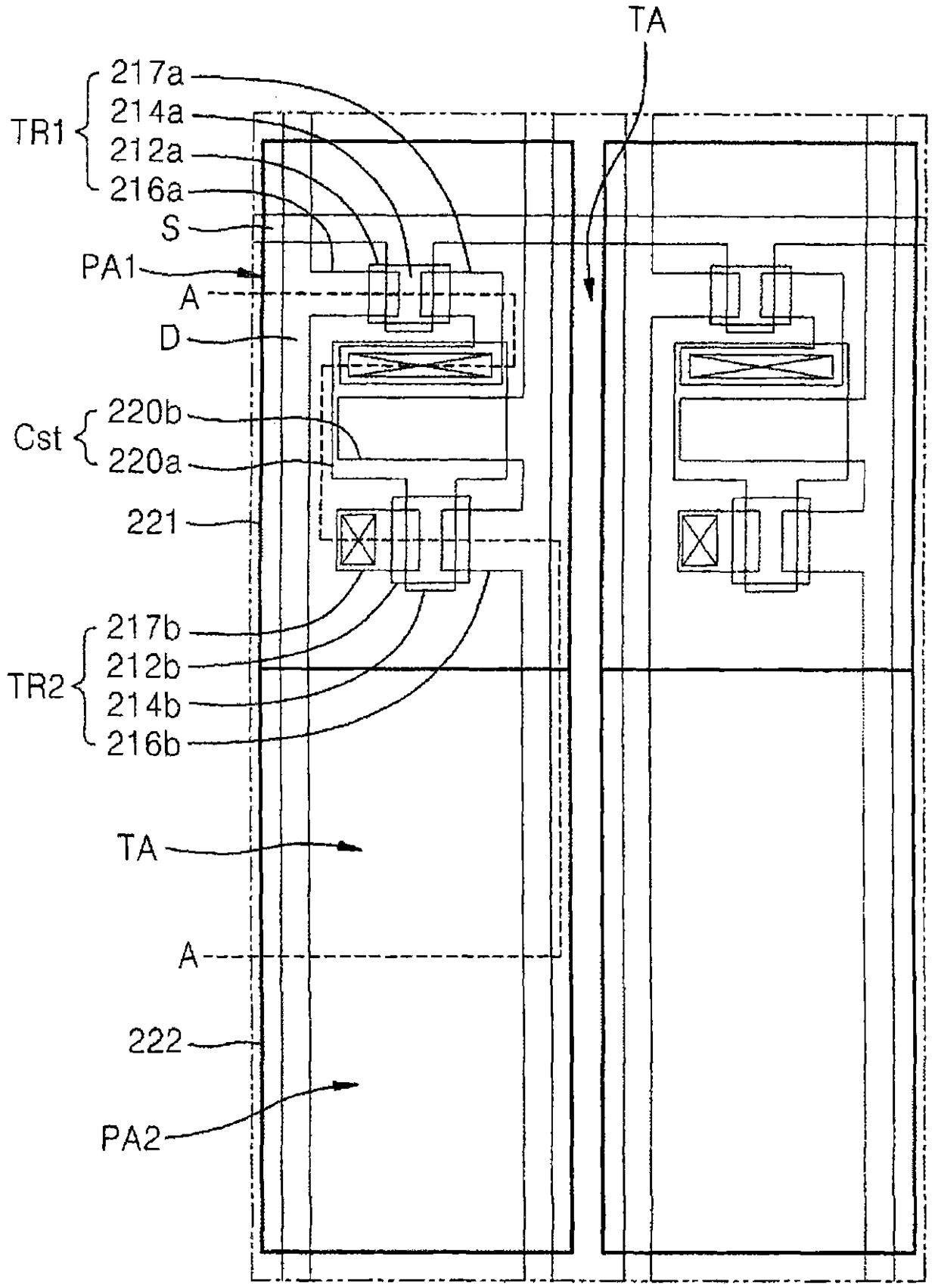
有机发光显示装置
授权日
2016-04-20
公开(公告)号
CN102169886B
申请日
2011-01-30
公开(公告)日
2016-04-20
当前申请(专利权)人
三星显示有限公司
发明人
丁喜星 | 高晟洙 | 郑哲宇 | 朴顺龙 | 安致旭 | 高武恂 | 金沃炳 | 郑又硕 | 赵一龙 | 金泰奎 | 李德珍
简单同族
CN102169886A | CN102169886B | DE102010044022A1 | JP2011175962A | JP5864846B2 | KR101084198B1 | KR1020110097046A | TW201130372A | TWI535329B | US20110205198A1 | US8664848
简单同族成员数量
11
简单同族被引用专利总数
82
诉讼案件数
0
法律状态/事件
授权 | 权利转移
抱歉,您的浏览器不支持PDF预览,请点击链接下载PDF文件