专利数据库
统计分析
产业报告
专利数据监控
产业人才
行业动态
产业政策法规
维权援助
个人中心
详情
文本
图像
标题
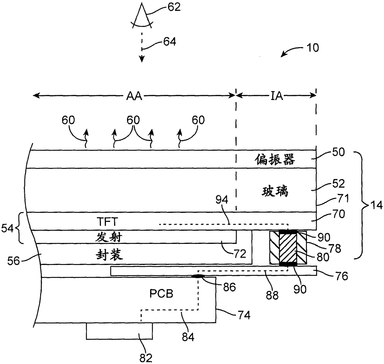
窄边框有机发光二极管显示器
授权日
2016-02-10
公开(公告)号
CN103594485B
申请日
2013-08-14
公开(公告)日
2016-02-10
当前申请(专利权)人
苹果公司
发明人
D·C·马修 | A·T·加勒丽 | P·S·德瑞扎伊 | 陈伟 | B·W·德格纳 | B·W·波斯纳
简单同族
CN103594485A | CN103594485B | KR101484852B1 | KR1020140023223A | TW201409685A | TWI580030B | US20140049522A1 | US20160079337A1 | US20170062547A1 | US9214507 | US9515131 | US9780159
简单同族成员数量
12
简单同族被引用专利总数
97
诉讼案件数
0
法律状态/事件
授权
抱歉,您的浏览器不支持PDF预览,请点击链接下载PDF文件