专利数据库
统计分析
产业报告
专利数据监控
产业人才
行业动态
产业政策法规
维权援助
个人中心
详情
文本
图像
标题
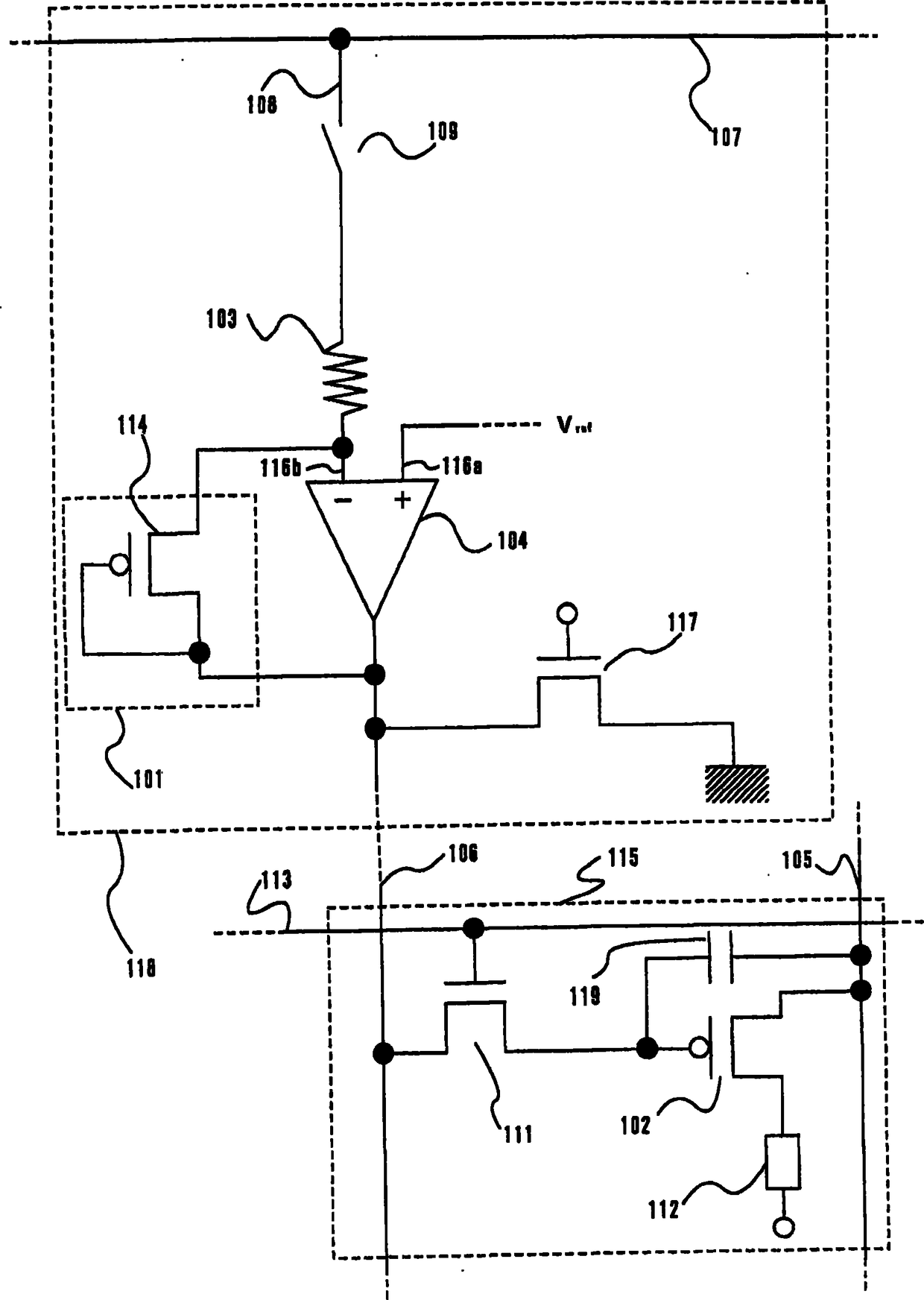
显示器件及其驱动方法
授权日
2012-11-07
公开(公告)号
CN101763821B
申请日
2001-10-27
公开(公告)日
2012-11-07
当前申请(专利权)人
株式会社半导体能源研究所
发明人
小山润 | 木村肇
简单同族
CN100592361C | CN101763821A | CN101763821B | CN1351322A | TW550530B | US20030107534A1 | US20040164949A1 | US20070278932A1 | US20120127065A1 | US6697057 | US7262749 | US8063895 | US8395608
简单同族成员数量
13
简单同族被引用专利总数
276
诉讼案件数
0
法律状态/事件
未缴年费
抱歉,您的浏览器不支持PDF预览,请点击链接下载PDF文件