专利数据库
统计分析
产业报告
专利数据监控
产业人才
行业动态
产业政策法规
维权援助
个人中心
详情
文本
图像
标题
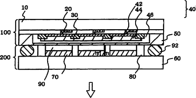
有机EL显示装置
授权日
1900-01-01
公开(公告)号
CN1969595A
申请日
2005-08-02
公开(公告)日
2007-05-23
当前申请(专利权)人
出光兴产株式会社
发明人
荣田畅 | 福田雅彦
简单同族
CN1969595A | EP1784054A1 | EP1784054A4 | JPWO2006022123A1 | KR1020070049172A | TW200621085A | US20080036367A1 | WO2006022123A1
简单同族成员数量
8
简单同族被引用专利总数
120
诉讼案件数
0
法律状态/事件
放弃
抱歉,您的浏览器不支持PDF预览,请点击链接下载PDF文件