专利数据库
统计分析
产业报告
专利数据监控
产业人才
行业动态
产业政策法规
维权援助
个人中心
详情
文本
图像
标题
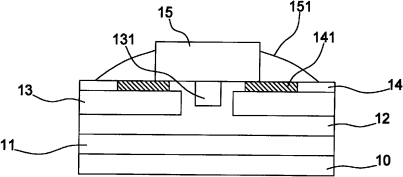
液晶显示器的二极管载板结构
授权日
2007-07-25
公开(公告)号
CN2927106Y
申请日
2006-06-23
公开(公告)日
2007-07-25
当前申请(专利权)人
佳总兴业股份有限公司
发明人
张上釜 | 叶自立
简单同族
CN2927106Y
简单同族成员数量
1
简单同族被引用专利总数
0
诉讼案件数
0
法律状态/事件
未缴年费
抱歉,您的浏览器不支持PDF预览,请点击链接下载PDF文件