专利数据库
统计分析
产业报告
专利数据监控
产业人才
行业动态
产业政策法规
维权援助
个人中心
详情
文本
图像
标题
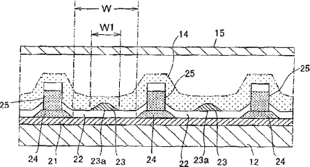
有机EL显示装置
授权日
1900-01-01
公开(公告)号
CN101924125A
申请日
2010-06-12
公开(公告)日
2010-12-22
当前申请(专利权)人
双叶电子工业株式会社
发明人
小玉光文 | 渡边圭介 | 竹内太佑 | 油川佑基
简单同族
CN101924125A | CN101924125B | JP2011023336A | JP4816985B2 | US20100314616A1 | US8319419
简单同族成员数量
6
简单同族被引用专利总数
89
诉讼案件数
0
法律状态/事件
授权 | 权利转移
抱歉,您的浏览器不支持PDF预览,请点击链接下载PDF文件