专利数据库
统计分析
产业报告
专利数据监控
产业人才
行业动态
产业政策法规
维权援助
个人中心
详情
文本
图像
标题
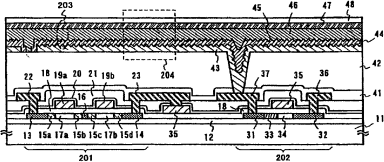
场致发光显示装置
授权日
2009-06-17
公开(公告)号
CN100501824C
申请日
2000-09-01
公开(公告)日
2009-06-17
当前申请(专利权)人
株式会社半导体能源研究所
发明人
山崎舜平
简单同族
CN100501824C | CN1203463C | CN1287343A | CN1516095A | DE60028888D1 | DE60028888T2 | EP1081767A2 | EP1081767A3 | EP1081767B1 | EP1701396A2 | EP1701396A3 | EP1701396B1 | JP2001143874A | JP2001143874A5 | JP4472073B2 | KR100803935B1 | KR100803936B1 | KR100818533B1 | KR100864197B1 | KR100882158B1 | KR1020010067152A | KR1020070032974A | KR1020070032975A | KR1020070111410A | KR1020080085799A | TW466781B | US20020180374A1 | US20040000865A1 | US20050029930A1 | US20090051270A1 | US20100194275A1 | US20120248454A1 | US6433487 | US6555969 | US7012300 | US7427834 | US7710028 | US8198806 | US8358063
简单同族成员数量
39
简单同族被引用专利总数
330
诉讼案件数
0
法律状态/事件
未缴年费
抱歉,您的浏览器不支持PDF预览,请点击链接下载PDF文件