专利数据库
统计分析
产业报告
专利数据监控
产业人才
行业动态
产业政策法规
维权援助
个人中心
详情
文本
图像
标题
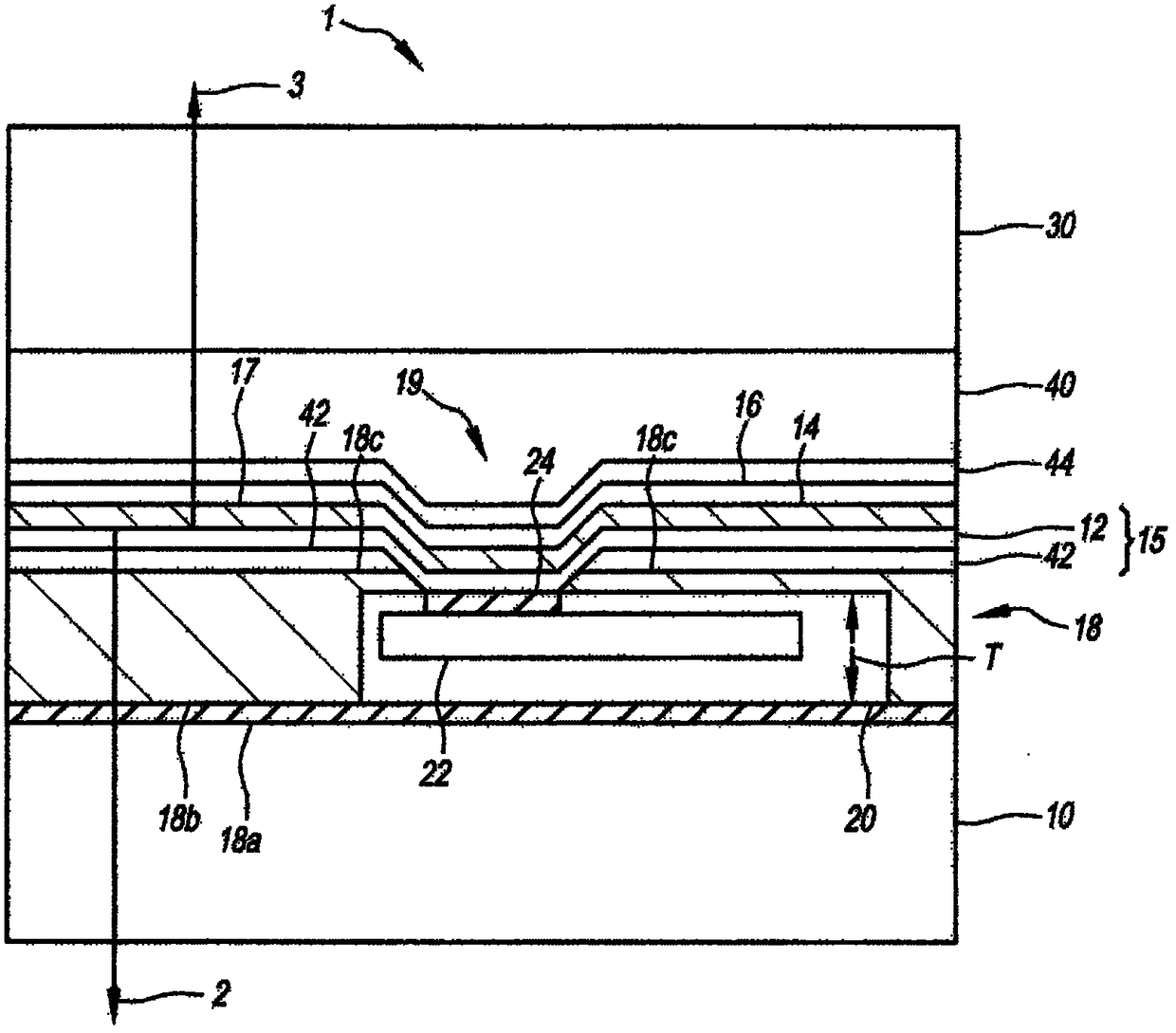
具有小芯片的柔性OLED显示器
授权日
1900-01-01
公开(公告)号
CN102334208A
申请日
2010-02-12
公开(公告)日
2012-01-25
当前申请(专利权)人
全球OLED科技有限责任公司
发明人
R·S·库克 | 约翰·W·哈默
简单同族
CN102334208A | CN102334208B | EP2401777A1 | EP2401777B1 | JP2012518892A | JP5192089B2 | KR101238308B1 | KR1020110134419A | TW201117368A | TWI379414B | US20100213819A1 | US7816856 | WO2010098992A1
简单同族成员数量
13
简单同族被引用专利总数
208
诉讼案件数
0
法律状态/事件
授权
抱歉,您的浏览器不支持PDF预览,请点击链接下载PDF文件