专利数据库
统计分析
产业报告
专利数据监控
产业人才
行业动态
产业政策法规
维权援助
个人中心
详情
文本
图像
标题
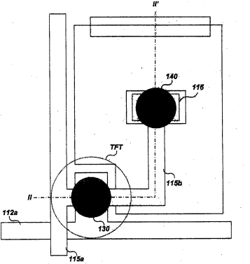
具有双柱间隔体的液晶板及其制造方法
授权日
2008-09-17
公开(公告)号
CN100419543C
申请日
2006-06-02
公开(公告)日
2008-09-17
当前申请(专利权)人
乐金显示有限公司
发明人
金炳勳
简单同族
CN100419543C | CN1892366A | DE102006027177A1 | DE102006027177B4 | JP2007011367A | JP4625431B2 | KR100740041B1 | KR1020070003122A | TW200707036A | TWI348579B | US20070002264A1 | US7609357
简单同族成员数量
12
简单同族被引用专利总数
74
诉讼案件数
0
法律状态/事件
授权
抱歉,您的浏览器不支持PDF预览,请点击链接下载PDF文件