专利数据库
统计分析
产业报告
专利数据监控
产业人才
行业动态
产业政策法规
维权援助
个人中心
详情
文本
图像
标题
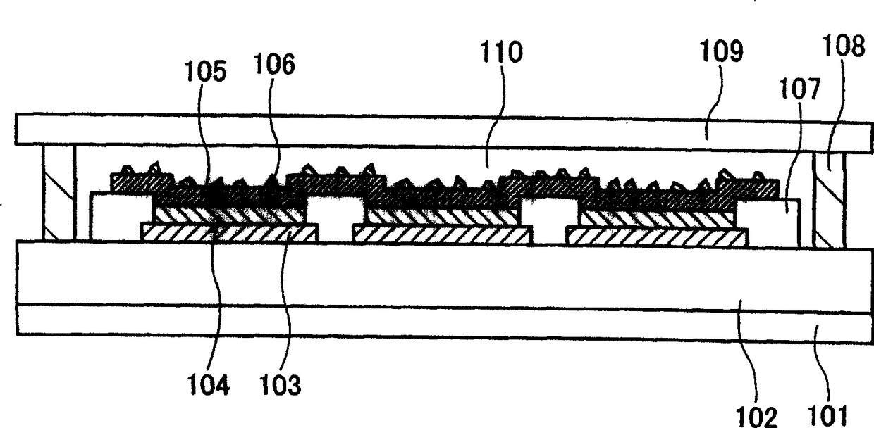
发光元件、发光器件、发光器件的制造方法以及片状密封材料
授权日
2015-08-19
公开(公告)号
CN101030627B
申请日
2007-03-02
公开(公告)日
2015-08-19
当前申请(专利权)人
株式会社半导体能源研究所
发明人
平形吉晴
简单同族
CN101030627A | CN101030627B | EP1830421A2 | EP1830421A3 | JP2012151122A | JP5364811B2 | KR101460294B1 | KR101477267B1 | KR101563232B1 | KR1020070090749A | KR1020130119893A | KR1020140106474A | TW200738055A | TWI496509B | US20080018231A1 | US20130309933A1 | US8492972 | US8968044
简单同族成员数量
18
简单同族被引用专利总数
87
诉讼案件数
0
法律状态/事件
授权
抱歉,您的浏览器不支持PDF预览,请点击链接下载PDF文件