专利数据库
统计分析
产业报告
专利数据监控
产业人才
行业动态
产业政策法规
维权援助
个人中心
详情
文本
图像
标题
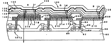
显示装置及其制造方法
授权日
2008-11-05
公开(公告)号
CN100431165C
申请日
2004-12-27
公开(公告)日
2008-11-05
当前申请(专利权)人
三洋电机株式会社
发明人
铃木浩司 | 西川龙司 | 米田清
简单同族
CN100431165C | CN1638580A | JP2005197011A | JP4475942B2 | KR100684243B1 | KR1020050067067A | TW200522782A | TWI300670B | US20050140277A1 | US7166959
简单同族成员数量
10
简单同族被引用专利总数
154
诉讼案件数
0
法律状态/事件
授权
抱歉,您的浏览器不支持PDF预览,请点击链接下载PDF文件